电磁阀资讯

华体会手机网页版登录入口-华体会(中国)二位三通电磁阀与四通电磁阀,你了解吗?

华体会手机网页版登录入口-华体会(中国)是业内知名的高端自动化控制阀制造企业,20年专注生产、研发制造各种类阀门,匠心工艺,经久耐用,产品远销全球150多个国家和地区,成功助力10000多个水处理、石油、天然气、农业、设备厂等工程项目的成功应用。
主营产品有:电磁阀、电动阀门(电动球阀、电动蝶阀、电动闸阀等)、气动阀门(角座阀、气动球阀、气动蝶阀等)、手动阀门以及阀门零配件等,还可按需定制。
作为500强企业优秀供应商,服务4000多家企业,从未发生过售后扯皮问题,零差评,客户满意度超同行3倍。
一、二位三通电磁阀
由于二位三通直动式电磁阀具有零压启动、密封性能好、开启速度快、可靠性好、使用寿命长等特点,所以二位三通电磁阀不仅应用在双温双控、多温多控电冰箱内,而且还广泛应用在医疗器械、空压机、仪器仪表、冶金、制药等行业。
常见的二位三通电磁阀的实物外形如图,内部构成如图,在电冰箱制冷系统内的位置图如下所示。
 
 
如上图所示,二位三通阀的线圈不通电时,阀芯处于原位置,使出口1关闭、出口2打开,冷冻室、冷藏室的蒸发器同时工作;线圈通电后产生的磁场将阀芯吸起,将出口2关闭,使出口1畅通,仅冷藏室蒸发器吸收热量,冷冻室继续降温。这样,通过它的控制,满足了冷藏室、冷冻室同时制冷或冷冻室单独制冷的需要。
二、四通换向电磁阀
四通换向电磁阀也叫四通电磁阀、四通阀。只有热泵式冷暖空调器制冷系统设置四通换向电磁阀,典型的四通换向电磁阀的实物外形如下图所示。
 
1.四通换向电磁阀
的作用四通换向电磁阀的作用主要是通过切换压缩机排出的高压高温制冷剂走向,改变室内、室外热交换器的功能,实现制冷功能或制热功能。
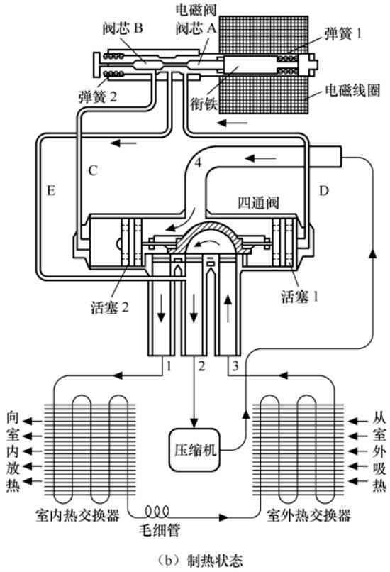
2.四通换向电磁阀的构成
如下图所示,四通换向电磁阀由导向阀和换向阀两部分组成。其中,导向阀由阀体和电磁线圈两部分组成。阀体内部设置了弹簧、阀芯、衔铁,阀体外部有 C、D、E 3 个阀孔,它们通过C、D、E 3 根导向毛细管与换向阀连接。四通换向电磁阀的阀体内设有半圆形滑块和两个带小孔的活塞,阀体外有 4 个管口,它们分别与制冷系统中压缩机的排气管、吸气管、室内外热交换器连接。
 
3.四通换向电磁阀的工作原理
(1)制冷状态
如下图(a)所示,当空调器设置为制冷状态时,电气系统不为导向阀的线圈提供驱动电压(脉冲信号),线圈不能产生磁场,衔铁不动作。此时,弹簧 1 的弹力大于弹簧2,推动阀芯A、B一起向左移动,于是阀芯A使导向毛细管 D关闭,而阀芯B使导向毛细管C 与 E 接通。由于换向阀的活塞2通过C 管、导向阀、E管接压缩机的回气管,所以活塞2因左侧压力减小而带动滑块左移,将管口4与管口3接通,管口2与管口1接通,此时室内热交换器作为蒸发器,室外热交换器作为冷凝器。这样压缩机排出的高压高温气体经换向阀的管口4和管口3进入室外热交换器,利用室外热交换器散热,再经毛细管进入室内热交换器,利用室内蒸发器吸热汽化后,经管口1和管口2构成的回路返回压缩机。至此,一个制冷循环过程结束。
 
 
(2)制热状态
如上图(b)所示,当空调器设置为制热状态时,电气系统为导向阀的线圈提供驱动电压,线圈产生磁场,使衔铁右移。阀芯A、B 在衔铁和弹簧2 的作用下一起向右移动,阀芯A使导向毛细管D、E 接通,而阀芯B 将导向毛细管C 关闭。由于换向阀的活塞1通过D管、导向阀、E 管接压缩机的回气管,所以活塞1因右侧压力减小而带动滑块右移,将管口4与管口1接通,管口3 与管口 2 接通,此时室内热交换器作为冷凝器,室外热交换器作为蒸发器。这样压缩机排出的高压高温气体经换向阀的管口4和管口1构成的回路进入室内热交换器,利用室内热交换器开始散热,再经毛细管节流降压后进入室外热交换器,利用室外热交换器吸热汽化,随后通过管口3和管口2构成的回路返回压缩机。至此,一个制热循环过程结束。
三、电磁阀的检测
各种电磁阀的检测方法是一样的,下面以常用的四通换向电磁阀为例进行介绍。
 
如上图所示,将数字型万用表置于“2k”挡,测四通换向电磁阀线圈的阻值为 1.458kΩ左右,说明线圈正常;若阻值过大,说明线圈开路;若阻值过小,说明线圈短路。还可以采用交流电压挡测量线圈两端电压的方法进行判断,线圈两端有无220V 电压时,四通换向电磁阀内部应该换向,否则说明四通换向电磁阀已损坏。另外,通电后若线圈过热,说明线圈有匝间短路的现象。
 
华体会手机网页版登录入口-华体会(中国)是业内知名的高端自动化控制阀制造企业,20年专注生产、研发制造各种类阀门,匠心工艺,经久耐用,产品远销全球150多个国家和地区,成功助力10000多个水处理、石油、天然气、农业、设备厂等工程项目的成功应用。
主营产品有:电磁阀、电动阀门(电动球阀、电动蝶阀、电动闸阀等)、气动阀门(角座阀、气动球阀、气动蝶阀等)、手动阀门以及阀门零配件等,还可按需定制。
作为500强企业优秀供应商,服务4000多家企业,从未发生过售后扯皮问题,零差评,客户满意度超同行3倍。

按地区选择查看

Your closest 华体会手机网页版登录入口-华体会(中国) is

华体会手机网页版登录入口-华体会(中国)

This region has not yet joined our new website. You will now continue to the existing site for 华体会手机网页版登录入口-华体会(中国)

Continue